本实用新型G82418S涉及以太网络变压器技术领域,尤其涉及一款10G以太网络变压器。
背景技术:
互联网用的以太网变压器正常的一般都是100/1000MHz的速率传输信号,也就是传说中的百兆千兆网络变压器。正常的100/1000MHz传输速率的以太网变压器参数IL的范围在-1.0dBMAX@1-100MHz;参数RL的范围在-18dBMIN~-10dBMIN@1-100MHz。市场变化日新月异,常规的100/1000MHz速率传输的以太网变压器已不能满足互联网提速的需求。
技术实现要素:
本实用新型G82418S提供了一款10G以太网络变压器,结构合理,使用方便,在相同封装形式的情况下,通过应用合理的变压器磁芯材料和控制线圈绕制工艺,使得网络变压器能够达到10G的速率传输以太网信号和1.5KV的作用,网络变压器的所有的电性参数也能满足IEEE802.3的要求。
为解决上述技术问题,本产品G82418S实施例提供了一款10G以太网络变压器,包括胶壳、变压器、灌封材料和PIN脚,所述的胶壳内设有变压器,所述的胶壳和变压器之间设有灌封材料,所述的PIN脚包括外PIN脚和内PIN脚,所述的外PIN脚设于胶壳一侧,内PIN脚与变压器连接,所述的变压器包括磁芯和线圈两部分,所述的磁芯使用双孔型和圆环型结构的锰锌材料和镍锌材料制成,所述的线圈为QPN漆包线,所述的QPN漆包线使用双线预扭线制成,线圈组装前进行coating预保护,组装后进行二次potting保护。
G82418S作为本实用新型G82418S的一个优选的技术方案,所述的灌封材料使用高介电常数的硅胶材料制成。
G82418S作为本实用新型G82418S的一个优选的技术方案,所述的胶壳呈长方体状,其长宽高尺寸为17.55*12.2*6mm。
本申请实施例中G82418S提供的一个或多个技术方案,至少具有如下技术效果或优点:
结构合理,使用方便,在相同封装形式的情况下,通过应用合理的变压器磁芯材料和控制线圈绕制工艺,使得网络变压器能够达到10G的速率传输以太网信号和1.5KV的作用,网络变压器的所有的电性参数也要满足IEEE802.3的要求。
附图说明
为了更清楚地说明本实用新型G82418S实施例或现有技术中的技术方案,下面将对实施例或现有技术描述中所需要使用的附图作简单地介绍,显而易见地,下面描述中的附图仅是本实用新型G82418S的一些实施例,对于本领域普通技术人员来讲,在不付出创造性劳动性的前提下,还可以根据这些附图获得其他的附图。
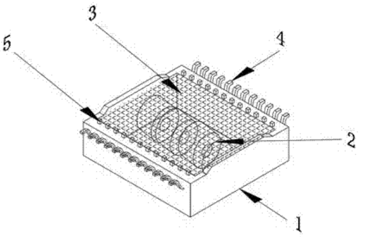
图1是本申请实施例的结构示意图;
图1中,1、胶壳,2、变压器,3、灌封材料,4、外PIN脚,5、内PIN脚。
具体实施方式
为了更好的理解上述技术方案,下面将结合说明书附图以及具体的实施方式对上述技术方案进行详细的说明。
如图1所示,本实施例所述的一款10G以太网络变压器,包括胶壳1、变压器2、灌封材料3和PIN脚,所述的胶壳1内设有变压器,所述的胶壳1和变压器2之间设有灌封材料3,所述的PIN脚包括外PIN脚4和内PIN脚5,所述的外PIN脚4设于胶壳1一侧,内PIN脚5与变压器2连接,所述的变压器2包括磁芯和线圈两部分,所述的磁芯使用双孔型和圆环型结构的锰锌材料和镍锌材料制成,所述的线圈为传统的QPN漆包线,通过改善磁芯材料和线圈的绕线工艺,在满足标准的前提下实现10G高速率传输。
其中,在实际应用中,所述的变压器2的线圈使用双线预扭线制成,线圈组装前进行coating预保护,组装后进行二次potting保护,可有效防止漆包线受到损伤。
其中,在实际应用中,所述的灌封材料3使用高介电常数的硅胶材料制成,以保护变压器的磁芯及裸露的铜线,避免裸露部分遭受雷击时通过裸露处引起跳弧。
其中,在实际应用中,所述的胶壳1呈长方体状,其长宽高尺寸为17.22*12.2*6mm,能做到与1*N的RJ45配合传输使用。
以上所述,仅是本实用新型G82418S的较佳实施例而已,并非对本实用新型G82418S作任何形式上的限制,虽然本实用新型G82418S已以较佳实施例揭露如上,然而并非用以限定本实用新型G82418S,任何熟悉本专业的技术人员,在不脱离本实用新型G82418S技术方案范围内,当可利用上述揭示的技术内容作出些许更动或修饰为等同变化的等效实施例,但凡是未脱离本实用新型G82418S技术方案的内容,依据本实用新型G82418S的技术实质对以上实施例所作的任何简单修改、等同变化与修饰,均仍属于本实用新型G82418S技术方案的范围内。
全系列网络通讯元件,产品任意定制
3大生产基地,发货快交期准
全自动设备产品检测,保障品牌建设
内地工厂,成本低价格优